Конструктивные особенности тележек типа Barber
Тележка обеспечивает эксплуатацию грузовых вагонов по магистральным железным дорогам колеи 1520 мм в интервале температур окружающей среды от плюс 40°С до минус 60 °С (исполнение УХЛ категория размещения 1 ГОСТ 15150-69).Боковая рама и надрессорная балка с увеличенными показателями статической и усталостной прочности.
Кассетный конический подшипник с опиранием боковой рамы через адаптер.
Рессорное подвешивание с кусочно-линейчатой характеристикой, состоящее из девяти двухрядных комплектов пружин.
Фрикционный гаситель колебаний принципиально новой конструкции.
Боковые скользуны постоянного контакта.
![]() |
| Тележка типа Barber S-2-R модель 18-9810 (23,5 тс) |
![]() |
| Тележка типа Barber S-2-R модель 18-9855 (25 тс) |
Тележки разработаны ОАО «НВЦ «Вагоны» на основе технического проекта компании Standard Car Truck (корпорация Wabtec, США) для Тихвинского вагоностроительного завода.
Основные отличия тележки модели 18-9855 от 18-9810 заключаются в конструкции надрессорной балки с увеличенным по требованиям нормативных документов диаметром и глубиной подпятника, применении триангеля с безрезьбовым креплением башмака, колесных пар с S-образной формой диска. Остальные детали - боковые рамы, пружины подвешивания, детали фрикционного гасителя колебаний, боковые скользуны постоянного контакта унифицированы для двух тележек.
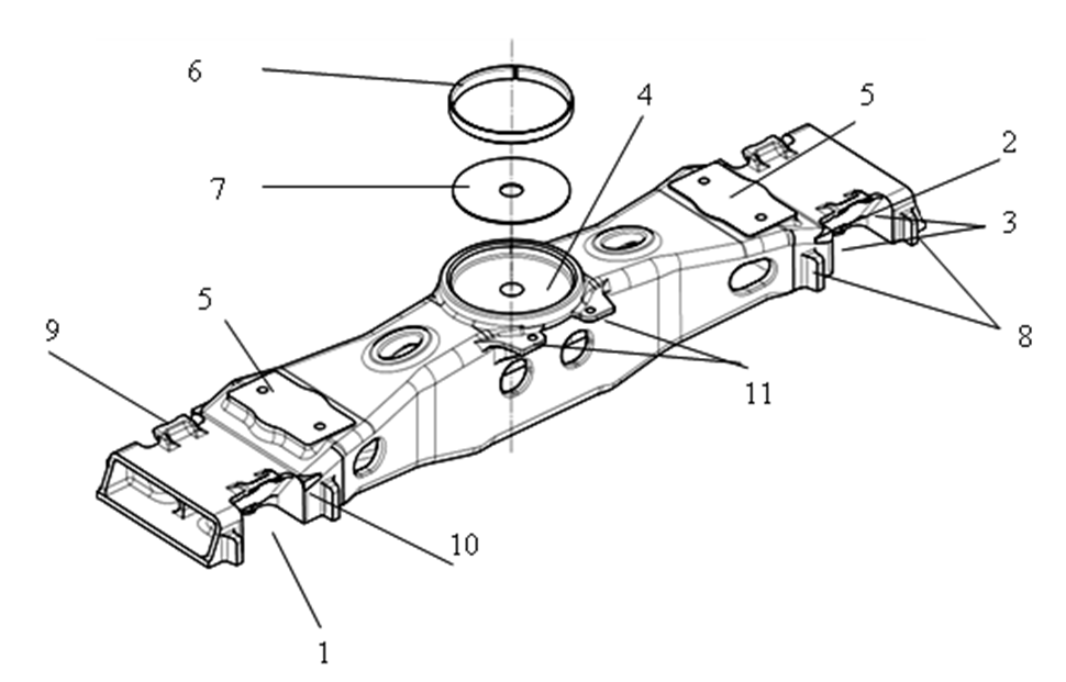
Конструкция тележки 18-9855
Конструкция двухосной трёхэлементной тележки с осевой нагрузкой 25 тс модели 18-9855 с балкой авторежима приведена на рисунке. В зависимости от типа тормозной рычажной передачи вагона балка авторежима может устанавливаться на одну или на обе тележки.Тележка изготовлена в габарите 02-ВМ по ГОСТ 9238 для эксплуатации на ж.д. путях колеи 1520 мм и допускает возможность переоборудования колесными парами и триангелями для эксплуатации на железнодорожных путях колеи 1435 мм.
Тележка состоит из следующих узлов (см. схему тележки):
- рама тележки нежёсткого типа, состоящая из двух боковых рам 1 и надрессорной балки 2 (ОСТ 32.183); по сравнению с тележкой модели 18-9810 глубина и диаметр подпятника увеличены.
- колесные пары марки РВ2Ш-957-Г 3 (без подшипниковых узлов), удовлетворяющие ГОСТ 4835, с колёсами повышенной твёрдости с криволинейным диском по ТУ 0943-170-01124323 и профилем поверхности катания по ГОСТ 9036, оборудованные двухрядными кассетными коническими подшипниками 4 с габаритными размерами 150х250х160 мм;
- адаптеры 5, обеспечивающие установку колёсных пар в буксовый проём;
- блокираторы 6 от вертикальных перемещений колёсных пар;
- центральное рессорное подвешивание с кусочно-линейной характеристикой, с каждой стороны тележки состоящее из комплекта 7 девяти двухрядных (наружная и внутренняя) витых цилиндрических пружин (ГОСТ 1452), на две из которых опираются фрикционные клинья, а семь расположены под надрессорной балкой;
- фрикционные клинья 8, каждый из которых состоит из двух частей, образующих совместно наклонную поверхность пространственной конфигурации;
- тормозная рычажная передача 9, которая обеспечивает одностороннее нажатие тормозных колодок на колёса и оборудуется композиционными или чугунными (при особых условиях эксплуатации) тормозными колодками; предусмотрено безрезьбовое крепление башмака на триангеле;
- шкворень 10;
- износостойкие элементы: износостойкое кольцо 11 упорной поверхности подпятника, износостойкий вкладыш 12 на плоскую опорную поверхность подпятника, планки 13 боковых стенок карманов надрессорной балки, вставки 14 карманов надрессорной балки, фрикционные планки 15, установленные на вертикальные стойки рессорного проёма боковой рамы, скобы 16 опорных поверхностей буксовых проёмов боковой рамы;
- боковые упругие скользуны постоянного контакта 17, состоящие из корпуса, внутрь которого вставлены два комплекта двухрядных (наружная и внутренняя) витых цилиндрических пружин, и колпака, который устанавливается сверху на пружины и входит внутрь корпуса.
| Наименование характеристики | Значение |
| 1. Масса тележки в сборе, кг, не более | 5100, не более |
| 2. База тележки, мм | 1850±5 |
| 3. Конструкционная скорость движения, км/ч | 120 |
| 4. Максимальная расчетная статическая нагрузка от колесной пары на рельсы, кН (тс) | 245,2 (25,0) |
| 5. Расстояние между продольными осями боковых скользунов, мм | 1524±3 |
| 6. Расстояние между линиями приложения нагрузок к шейкам осей колесных пар и продольными осями рессорных комплектов, мм | 2036±3 |
| 7. Назначенный срок службы, лет | 32 |
При техническом обслуживании вагонов с тележками 18-9855 должны быть выявлены неисправности подшипниковых узлов, требующих отцепочного ремонта, по следующим признакам:
- внешние признаки ненормальной работы при встрече состава «сходу» и отправлении (скрежет, пощелкивание, искрение, задымление, появление запаха и т.п.);
- выброс смазки на диск и обод колеса (наличие равномерного валика смазки в месте переднего уплотнения не является браковочным признаком для подшипников с адаптером);
- обрыв, ослабление болтов торцевого крепления подшипников на оси;
- температура нагрева верхней части адаптера 60º С и выше, без учета температуры окружающего воздуха;
- трещины на адаптере.
Рама тележки модели 18-9855
Общий вид боковой рамы в сборе представлен на рисунке 2, надрессорной балки на рисунке 3.
![]() |
1 – корпус; 2 – наружная пружина; 3 – внутренняя пружина; 4 - колпак; 5 – канавка, 6- болт.
Рисунок 4 – Скользун
|
Упругий скользун состоит из корпуса, двух упругих элементов (пружин) и колпака.
На колпаке скользуна имеются канавки для контроля износа рабочей поверхности. В новом состоянии между колпаком скользуна и корпусом имеются зазоры (суммарный продольный зазор не превышает 3 мм).
При техническом обслуживании грузовых вагонов с тележками модели 18-9855 в видимых для осмотра зонах должны быть выявлены следующие неисправности рамы, требующие отцепочного ремонта:
- трещины на боковых балках рамы;
- трещины на надрессорной балке;
- отсутствие или излом шкворня;
- трещины на фрикционных планках;
- обрыв (отсутствие) болтов крепления фрикционной планки, смещение фрикционной планки относительно стойки боковой рамы;
- трещины на корпусе или колпаке скользуна;
- наличие любого зазора между колпаком скользуна и износостойкой пластиной на опоре шкворневой балки (является неисправностью, при которой необходима отцепка в ТР);
- смещение корпуса скользуна относительно опорной площадки на надрессорной балке визуально. (Наличие любого смещения, является неисправностью, при которой необходима отцепка вагона в ТР-2);
- отсутствие или излом блокиратора или крепежа блокиратора в буксовом проеме боковой рамы;
- отсутствие износостойкой скобы на опорной поверхности буксового проёма боковой рамы, трещины сварных швов между листами скобы суммарной длиной более 180 мм;
- отсутствие или повреждение балки авторежима, контактной планки, болтов крепления балки и контактной планки;
- превышение срока службы боковой рамы и надрессорной балки.
Рессорное подвешивание и фрикционные гасители колебаний
Запрещается постановка в поезда и следование в них грузовых вагонов на тележках 18-9855 с просевшими пружинами, вызывающими перекос кузова, а также вагонов, у которых пружины рессорного подвешивания имеют хотя бы одну из следующих неисправностей в видимых для осмотра зонах:
- изломы, отколы, трещины витков;
- отсутствие хотя бы одной пружины;
- смыкание витков;
- смещение опорных витков.
Зазор между наружной пружиной под надрессорной балкой и опорной поверхностью надрессорной балки на порожнем вагоне предусмотрен конструкцией подвешивания и не является неисправностью.
Запрещается постановка в поезда и следование в них грузовых вагонов на тележках 18-9855, имеющих следующие неисправности фрикционных гасителей колебаний в видимых для осмотра зонах:
- трещины составных фрикционных клиньев;
- завышение фрикционного клина относительно верхней горизонтальной полки надрессорной балки, определяемое по индикатору на вертикальной поверхности клина
Отсутствие индикатора на фрикционном клине считается неисправностью, при которой необходима отцепка вагона в ремонт.
Характеристики пружин рессорного комплекта
| Пружина | Высота, мм | Навивка | Число витков (полное / рабочее) | Масса, кг |
| Наружная подклиновая | 285,0+0.7-2.0 | правая | 8,05 / 6,55 | 8,3 |
| Внутренняя подклиновая | 290,0+7,0-2,0 | левая | 12,36 / 10,86 | 3,5 |
| Наружная под надрессорной балкой | 240,0+5,5-1,5 | правая | 7,14 / 5,64 | 9,1 |
| Внутренняя под надрессорной балкой | 275,0+7,0-2,0 | левая | 12,36 / 10,86 | 3,3 |
Тормозная рычажная передача и колодки тележки модели 18-9855
Тележка оборудована тормозной рычажной передачей с безрезьбовыми триангелями.
Тормозная рычажная передача обеспечивает одностороннее нажатие колодок на колеса. Четыре колодки удерживаются в башмаках по ГОСТ 3269. Башмаки закреплены по концам триангелей.
В тормозной рычажной передаче предусмотрено использование композиционных тормозных колодок 126-12-58 или 126-12-58-01 по ТУ 2571-123-05766936, а также возможность установки чугунных тормозных колодок по ГОСТ 1205 при условии ограничения скорости движения.
Безрезьбовое крепление башмака на триангеле изображено на рисунке 6.
На триангель 1 надевается башмак 2 и наконечник 3. Фиксация наконечника осуществляется втулкой 4. Плотное прилегание втулки обеспечивается за счет установки между втулкой и наконечником одного или нескольких регулировочных шайб 6. Втулка закрепляется фиксатором 5, который вставляется через нее в отверстие на триангеле. В нижней части фиксатора имеется сквозное отверстие, в которое устанавливается шплинт 7.
![]() |
1 - балка триангеля, 2 – башмак, 3 – наконечник триангеля, 4 – втулка, 5 – фиксатор, 6 – регулировочные шайбы, 7 - шплинт
Рисунок 6 - Безрезьбовая установка башмака на триангеле
|
Контроль технического состояния узлов и деталей тележки в эксплуатации
Контроль технического состояния узлов и деталей тележки в эксплуатации осуществляют визуальным осмотром (там, где это предусмотрено технологическим процессом работы ПТО - с пролазкой), методом остукивания, а также путем инструментального контроля.
При обнаружении в тележках неисправностей, устранение которых требует отцепочного ремонта, на вагон оформляют уведомление формы ВУ-23ЭТД и передачей сообщения 1353 с кодом вида работ 4 для отцепки от состава и подачи на специализированные пути текущего ремонта ТР-2.
При формировании поезда на гарантийные участки длиной до 6000 км допускается производить техническое обслуживание поезда, сформированного из вагонов на тележках моделей 18-9810, 18-9855 на станциях формирования и назначения без проведения технического обслуживания в пути следования.
При формировании поезда на гарантийные участки длиной от 3500 км до 6000 км установить дополнительные требования к параметрам деталей и узлов тележек:
- равномерный прокат по кругу катания колеса - не более 8 мм;
- неравномерный прокат по кругу катания колеса - не более 1,5 мм;
- толщина обода колеса - не менее 25 мм;
- толщина гребня колеса - не менее 26 мм;
- выщербина на поверхности катания колеса - глубиной не более 5 мм, длиной не более 35 мм.
Опробование тормозов в составе поезда производить в соответствии с утвержденной нормативно-технической документацией. При этом толщина тормозной колодки должна быть не менее 20 мм.
Требования к тележкам в эксплуатации
Запрещается постановка в поезда и следование в них грузовых вагонов на тележках модели 18-9810 и 18-9855, в которых имеются следующие неисправности:
- трещины на боковой раме, на надрессорной балке в видимых зонах, трещины на адаптерах, фрикционных клиньях, фрикционных планках, корпусе и колпаке скользуна в видимых для осмотрщика вагонов зонах;
- полное завышение индикатора фрикционного клина относительно поверхности надрессорной балки или его отсутствие на видимой для осмотрщика вагонов стороне (Рисунок 7);
- наличие сквозного зазора между колпаком скользуна и износостойкой пластиной на опоре шкворневой балки рамы кузова, обусловленного изломом пружины (ВНИМАНИЕ! отсутствие предохранительной шпильки в скользуне или ее гаек и шайб не является браковочным признаком);
- смещение корпуса скользуна за границы площадки, где он установлен на надрессорной балке, ослабление самостопорящейся гайки крепежа корпуса, обрыв крепежа корпуса, отсутствие колпака;
- отсутствие блокиратора или отсутствие крепежа блокиратора или ослабление самостопорящейся гайки в буксовом проеме боковой рамы;
- обрыв или отсутствие крепежа или ослабление самостопорящеися гайки фрикционной планки, любое смещение фрикционной планки относительно стойки боковой рамы;
- отсутствие скобы на опорной поверхности буксового проема боковой рамы, трещины сварных швов между листами суммарной длиной более 180 мм в видимых для осмотрщика вагонов при осмотре зонах;
- отсутствие или излом пружин рессорного комплекта (ВНИМАНИЕ! Зазор между наружной пружиной под надрессорной балкой и опорной поверхностью надрессорной балки не является неисправностью);
- неисправности колесных пар, балки авторежима, деталей тормозной
- рычажной передачи и колодок;
- выработан срок службы боковой рамы и надрессорной балки.
- осмотр колёсных пар, балочки авторежима, деталей тормозной рычажной передачи и замена колодок производится в соответствии с «Инструкцией по техническому обслуживанию вагонов в эксплуатации».
- контроль завышения фрикционного клина производится по положению нижней границы индикатора относительно верхней поверхности надрессорной балки. Если индикатор пнадрессорной балки, то неисправности нет. Отсутствие полностью или частично находится ниже поверхности индикатора на клине, является неисправностью, при которой необходима отцепка вагона в ТР- 2.
- наличие сквозного зазора между колпаком скользуна и износостойкой пластиной на опоре шкворневой балки рамы кузова, обусловленного изломом пружины, является неисправностью (Рисунок 8), при которой необходима отцепка вагона в ТР-2.
![]() |
| Рисунок 8 – Неисправное состояние бокового скользуна – зазор между колпаком скользуна и износостойкой пластиной на опоре шкворневой балки рамы кузова |
- смещение корпуса скользуна за пределы границ опорной площадки на надрессорной балке, наличие трещин колпака и корпуса скользуна является неисправностью, при которой необходима отцепка вагона в ТР-2.
- отсутствие блокиратора или отсутствие крепежа (самостопорящейся гайки, шайбы или болта) на боковой раме является неисправностью, при которой необходима отцепка вагона в ТР-2.
- в узлах крепления блокираторов колёсных пар, фрикционных планок, корпусов скользунов, башмаков триангелей проверять сохранение момента затяжки самостопорящихся гаек путём лёгкого простукивания молотком, которое заключается в неподвижности гайки, а в случае выявления подвижности гайку необходимо заменить на новую при отцепке вагона в ТР-2
Колесные пары
Запрещается выпускать в эксплуатацию и допускать к следованию в поездах вагоны - после сходов,
- с трещиной в любой части оси колесной пары или трещиной в ободе, диске и ступице колеса
- при износах и повреждениях колесных пар сверх допустимых значений, приведенных в таблице
Осмотр, освидетельствование и ремонт колесных пар производить в соответствии с требованиями «Руководящего документа по ремонту и техническому обслуживанию колесных пар с буксовыми узлами грузовых вагонов магистральных железных дорог колеи 1520 (1524 мм)».
Таблица - Допустимые параметры колесной пары
| № п/п |
Нормируемые параметры | Значение,мм |
| 1 | Равномерный прокат колеса, не более | 9,0 |
| 2 | Толщина гребня колеса | 25,0-33,0 |
| 3 | Толщина обода колеса, не менее | 22,0 |
| 4 | Толщина обода колеса в месте расположения дефекта на поверхности катания (выщербины, ползуны, неравномерный покат), не менее | 22,0 |
| 5 | Ширина обода колеса (измерение производят вне мест расположения маркировки) | 126,0-133,0 |
| 6 | Расстояние между внутренними боковыми поверхностями ободов колес (измерение производят только у освобожденной от нагрузки колесной пары) | 1437,0-1443,0 |
| 7 | Разность расстояний между внутренними боковыми поверхностями ободов цельнокатаных колес в одной колесной паре, измеренная в четырех точках, расположенных в двух взаимно перпендикулярных плоскостях (измерения производят только у освобожденной от нагрузки колесной пары), не более | 2,0 |
Тормозная рычажная передача и колодки.
Запрещается постановка в поезда грузовых вагонов с тележками, у которых тормозная рычажная передача имеет следующие неисправности:
- трещины, изломы, нетиповое крепление триангелей, рычагов, тяг, подвесок, башмаков;
- нетиповые детали и шплинты в узлах;
- неисправные или отсутствующие предохранительные устройства;
- откол проушин тормозной колодки, неправильное крепление колодки в башмаке;
- толщина тормозной колодки менее 10 мм;
- не отрегулирована рычажная передача.
Не допускается оставлять тормозные колодки, если они выступают с поверхности катания за наружную грань колеса более чем на 10 мм.
На правильно отрегулированной рычажной передаче внутренний вертикальный рычаг тележки, соединенный с тормозной тягой, при полном служебном торможении и толщине колодок от 50 до 40 мм должен занимать вертикальное положение или иметь наклон верхнего плеча в сторону надрессорной балки,
- при толщине колодок менее 45 мм - занимать вертикальное положение или иметь наклон верхнего плеча в сторону надрессорной балки,
- при толщине колодок менее 45 мм - занимать вертикальное положение или иметь наклон не более 30° в сторону от надрессорной балки.
Положение внутреннего вертикального рычага тележки в эксплуатации контролируют визуально.
При отпущенных тормозах зазор между тормозной колодкой и колесом должен составлять не более 10 мм.











